| Sign In | Join Free | My hardware-wholesale.com |
|
Brand Name : kingpo
Model Number : KP-8441
Certification : iso9001 ce
Place of Origin : china
MOQ : 1
Price : To be Quoted
Payment Terms : T/T
Supply Ability : 80 sets per month
Delivery Time : 100 working days
Packaging Details : safety carton pack or plywood box
Standard : IEC 60884-1-figure 41,IEC 60598- 2-20 clause 20.15
Width of blade : 1. 0.7±0.01mm
Weight : 2.2.5N*2 (cable test weight can be customized)
Station : 2
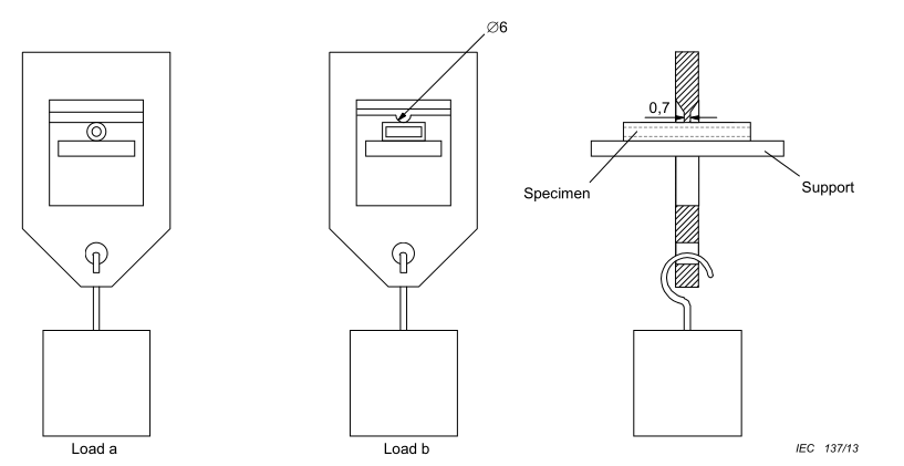
IEC60884-1 Figure 41 Pressure Test Apparatus at High Temperature
1. Product information:
Standard: IEC 60884-1-figure 41, IEC 60598- 2-20 clause 20.15 ,VDE0620-Bild 40, BS1363 figure 10
Application: This device is use for testing resistance to high temperature of material of pin-insulating sleeves
Technical parameters:

Parameters:
The specimens are tested by means of the apparatus show in figure 41 ,This App has a rectangular blade (see figure 41a )with an edge 0.7mm wide to be used in the case of round pins ,or a blade having a ronud shape (see figure 41b )with a diameter of 6 mm and an edge of 0.7mm ,in order cases .
The specimens are placed in position as shown in figure 41.
The force applied through the blade is 2.5N.
1. Width of blade: 0.7±0.01mm
2. Weight: 2.5N*2 (cable test weight can be customized)
3. Station: 2 stations
4. Equipped with one circular blade and a rectangular blade
|
|
Figure 41 Pressure Test Apparatus at High Temperature 2 Station Images |